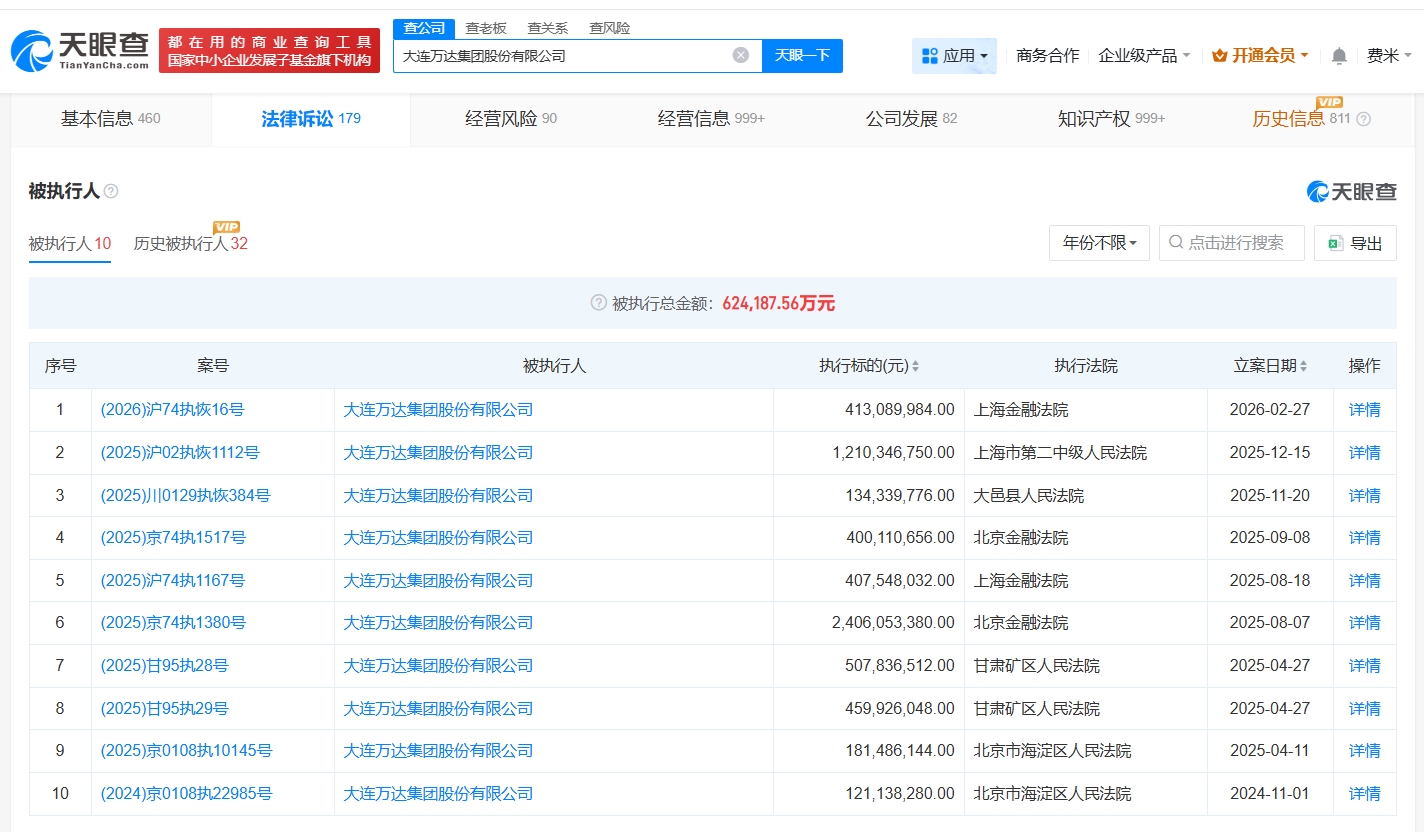
【大河财立方消息】天眼查法律诉讼信息显示,近日,大连万达集团股份有限公司、万达地产集团有限公司等新增1条恢复执行信息,执行标的4.1亿余元,执行法院为上海金融法院。

股东信息显示,大连万达集团由大连合兴投资有限公司、王健林共同持股。天眼风险信息显示,该公司现存10条被执行人信息,被执行总金额超62亿元。


关注河南一百度了解更多本地资讯
【大河财立方消息】天眼查法律诉讼信息显示,近日,大连万达集团股份有限公司、万达地产集团有限公司等新增1条恢复执行信息,执行标的4.1亿余元,执行法院为上海金融法院。

股东信息显示,大连万达集团由大连合兴投资有限公司、王健林共同持股。天眼风险信息显示,该公司现存10条被执行人信息,被执行总金额超62亿元。



点击右上角按钮
分享给您的朋友或是朋友圈